Unaza pincë jashtëm, prirje - 534PLUS/4DP
| Materiali: çeliku të veçantë mjet | |
| rënie të falsifikuara, ngurtësuar tërësisht dhe nevrik | |
| Kreu Sipërfaqja përfundojë: të imët tokë | |
| përfundojë sipërfaqe: të veshura me fosfat me DIN 12476 standarde | |
| këshilla të përfundojë e zezë | |
| bërë sipas standardit DIN 5254 formë B | |
| plastike të dyfishtë zhytur trajton | |
| Avantazhet: | |
| Durim 30% më i lartë në krahasim me të përshtatshme unaza lock pincë | |
| me këshilla futur | |
| për diametër 10 deri 100mm | |
| Përdorim | |
| për unaza nga boshte përshtatshëm | |
Profil:
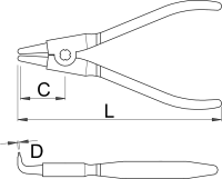
![]() | ![]() | ![]() | L | D | C | ![]() | ![]() | ![]() | ![]() | Kėrkesa blerja |
| 621199 | 140 | 3 - 10 | 128 | 0,9 | 28 | 134 | 4B | 10 | | |
| 621200 | 140 | 10 - 25 | 128 | 1,3 | 28 | 124 | 4B | 10 | | |
| 621201 | 180 | 19 - 60 | 166 | 1,8 | 38 | 204 | 4B | 10 | | |
| 621202 | 220 | 40 - 100 | 201 | 2,3 | 48 | 274 | 4B | 5 | |
Legjenda e simboleve

-
Paketimi dhënave
Legjenda e simboleve


Paketimit mjet Shitje me pakicë
Paketë transportit
![]() | ![]() | A | B | C | ![]() | ![]() | A1 | B1 | C1 | ![]() |
| 621199 | 140 | 205 | 58 | 25 | 130 | 4 | 75 | 278 | 54 | 580
![]() ![]() |
| 621200 | 140 | 205 | 58 | 25 | 130 | 4 | 75 | 278 | 54 | 584
![]() ![]() |
| 621201 | 180 | 240 | 58 | 25 | 218 | 4 | 124 | 250 | 54 | 930
![]() ![]() |
| 621202 | 220 | 260 | 58 | 27 | 280 | 4 | 114 | 291 | 39 | 1183
![]() ![]() |
Legjenda e simboleve

Imazhet e produkteve janë simbolike. Të gjitha dimensionet janë në mm, pesha në gram.


















